Questão
Q825981
Prova: Concurso Irmandade de Santa Casa de Misericórdia de São Paulo - SP (ISCMSP/SP) - Médico Residente (Programa de Acesso Direto: Anestesiologia) - Instituto Quadrix do ano 2018
•
Irmandade de Santa Casa de Misericórdia de São Paulo - SP (ISCMSP/SP)
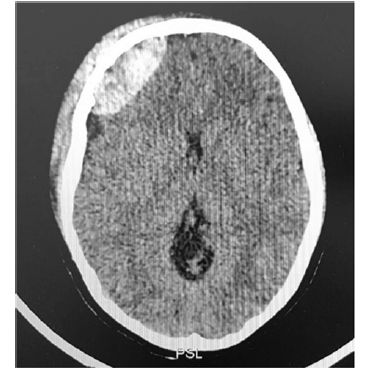
Um menino de dez anos de idade, vítima de trauma cranioe...
Um menino de dez anos de idade, vítima de trauma cranioencefálico, foi levado ao hospital pelo resgate após queda do telhado de uma altura de 5 m. Deu entrada na emergência com Glasgow de 13, evoluindo com crise convulsiva, tratada adequadamente com medicação. Foi realizada, ainda, uma tomografia de crânio que apresentou a imagem seguinte.

Com base nesse caso hipotético, assinale a alternativa correta.
Comentários
Faça login para participar da discussão.
Cadastre-se Gratuitamente
Carregando comentários...