Questão Q410926
2004 Centro de Seleção e de Promoção de Eventos UnB (CESPE) Tribunal de Contas Estadual - ES (TCE/ES)
Prova: Concurso Tribunal de Contas Estadual - ES (TCE/ES) - Engenheiro Área Eletricista - Centro de Seleção e de Promoção de Eventos UnB (CESPE) do ano 2004 Tribunal de Contas Estadual - ES (TCE/ES)

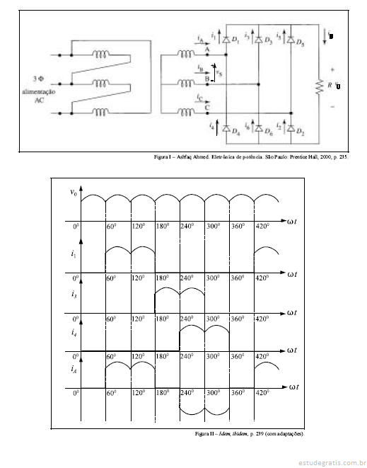
A figura I acima mostra o diagrama de um retificador trif...

A figura I acima mostra o diagrama de um retificador trifásico não-controlado de onda completa em ponte que está funcionando perfeitamente. Esse retificador é alimentado por um transformador trifásico, com relação de transformação igual a 1:1, a partir de uma fonte trifásica senoidal equilibrada com tensão nominal de linha igual a vS. A figura II mostra os gráficos das formas de onda de algumas grandezas elétricas importantes do referido retificador. Considerando essas informações, julgue os seguintes itens.

Se a carga alimentada pelo retificador fosse do tipo RL - resistiva e indutiva -, as formas de onda das correntes nos diodos seriam iguais às mostradas nos gráficos.

Comentários

Faça login para participar da discussão.

Cadastre-se Gratuitamente
Carregando comentários...