Questão
Q383940
Prova: Concurso Banco da Amazônia S/A - AM (BASA/AM) - Técnico Científico Área Engenharia Civil - Centro de Seleção e de Promoção de Eventos UnB (CESPE) do ano 2007
•
Banco da Amazônia S/A - AM (BASA/AM)
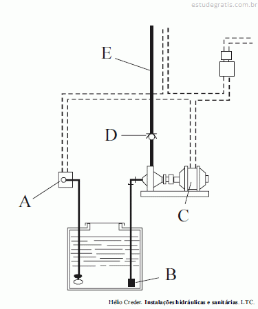
A parte inferior de uma instalação típica de bombeamento...

A parte inferior de uma instalação típica de bombeamento de água, com caixas simples e grupo monofásico está representada na figura acima. Com base nessa instalação, é correto afirmar que o componente
C é o grupo eletrobomba.
Comentários
Faça login para participar da discussão.
Cadastre-se Gratuitamente
Carregando comentários...